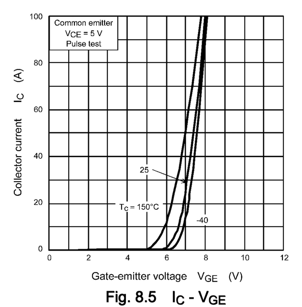
2024-03-31 各素子の出力特性の計測(3) IGBTパワーアンプ 出力特性 東芝のIGBTを調べる。IGBTが市販のアンプに採用されたことは無いと思う。ケンウッドの高級アンプで採用を検討されたと言う記事を読んだ事がある。結局バイポーラが採用された。 この領域ではややゆるい飽和特性と急峻な伝達特性が特徴である。こういう素子は調整中に突然アイドリングが急増して驚かされる。音は意外にも魅力的で、とても面白いアンプができる可能性がある。